![]() |
|
权利要求书
1.一种气缸触压棒,包括固定横梁(1),装设在该固定横梁(1)上 的固定板(2),其特征在于:所述固定横梁(1)的一端设有进气口(11), 该固定横梁(1)的另一端设有出气口(12),所述进气口(11)与出气口 (12)相连通,所述固定横梁(1)下部装设有若干个压片(3),每一压 片(3)的一端均装设有气缸杆(4),该气缸杆(4)与所述压片(3)传 动连接,在所述固定横梁(1)上分别设有与各气缸杆(4)相适应的若干 条气缸通气管(13),每一气缸通气管(13)与所述进气口(11)及出气 口(12)相连通,使在所述固定横梁(1)内形成一道并联式气流通道, 所述气缸杆(4)插入所述气缸通气管(13)内使压片(3)作纵向运动。
2.根据权利要求1所述的气缸触压棒,其特征在于:还包括一固定 夹板(5),该固定夹板(5)通过装设在固定夹板(5)一侧的若干个支撑
柱(6)与所述固定板(2)连接。
3.根据权利要求2所述的气缸触压棒,其特征在于:所述压片(3) 的另一端装设有弹簧(7),该弹簧(7)的一端与压片(3)传动连接,弹
簧(7)的另一端与所述固定夹板(5)固定连接,该压片(3)通过装设 在压片(3)上的压片连接块(8)与所述支撑柱(6)旋转连接。
4.根据权利要求1所述的气缸触压棒,其特征在于:所述气缸杆(4) 的一端设有凸出螺纹,该气缸杆(4)上套设有一防止气缸杆(4)在所述 气缸通气管(13)内运动时脱离固定横梁(1)的螺母(41),所述螺母(41) 与所述固定横梁(1)内的气缸通气管(13)固定连接,所述气缸杆(4) 的另一端装设有一圆珠(42)。
5.根据权利要求3所述的气缸触压棒,其特征在于:所述固定板(2) 通过至少两个螺栓(9)与所述横梁(1)固定连接,所述若干个支撑柱(6) 通过若干个螺栓(9)与所述固定板(2)固定连接,所述固定夹板(5) 通过至少两个螺栓(9)与所述支撑柱(6)固定连接,所述若干个弹簧(7) 通过若干个螺栓(9)与所述固定夹板(5)固定连接。
说明书
气缸触压棒
技术领域
本实用新型涉及瓦楞纸板加工机械的技术领域,更具体地说,是涉及 一种可用于瓦楞纸板加工机械的气缸触压棒。
背景技术
在瓦楞纸板的加工设备中,触压棒是安装于糊辘的上端,将纸板向糊 辘压紧,以实现瓦楞均匀施胶而不破坏瓦楞成型。传统的触压棒安装调试 过程中需要重物敲击才能移动零件,如此具有以下缺点:
1、受力会不均匀,而导致触压棒内的压片发生错位及不平整,当接 触瓦楞纸板时容易压损倒楞及上胶不均匀;
2、重量重,组装、搬运、安装不方便,既浪费了生产成本,又降低 了工作效率。
实用新型内容
本实用新型的目的在于克服现有技术中的上述缺陷,提供一种重量 轻,便于搬运及安装,受力均匀平衡,生产成本低,工作效率高的气缸触 压棒。
为实现上述目的,本实用新型提供的技术方案如下:
一种气缸触压棒,包括固定横梁,装设在该固定横梁上的固定板,所 述固定横梁的一端设有进气口,该固定横梁的另一端设有出气口,所述进 气口与出气口相连通,所述固定横梁下部装设有若干个压片,每一压片的 一端均装设有气缸杆,该气缸杆与所述压片传动连接,在所述固定横梁上 分别设有与各气缸杆相适应的若干条气缸通气管,每一气缸通气管与所述 进气口及出气口相连通,使在所述固定横梁内形成一道并联式气流通道, 所述气缸杆插入所述气缸通气管内使压片作纵向运动,如此既能气体均匀
施加压力到每一压片。 进一步而言,还包括一固定夹板,该固定夹板通过装设在固定夹板一 侧的若干个支撑柱与所述固定板连接,使结构更加牢固。
优选的,所述压片的另一端装设有弹簧,该弹簧的一端与压片传动连 接,弹簧的另一端与所述固定夹板固定连接,该压片通过装设在压片上的 压片连接块与所述支撑柱旋转连接,使压片具有了一定的支撑力,当压片 下压时也带有缓冲弹力。
优选的,所述气缸杆的一端设有凸出螺纹,该气缸杆上套设有一防止 气缸杆在所述气缸通气管内运动时脱离固定横梁的螺母,所述螺母与所述 固定横梁内的气缸通气管固定连接,所述气缸杆的另一端装设有一圆珠, 使气缸杆与压片之间带来了缓冲及耐磨的效果。
优选的,所述固定板通过至少两个螺栓与所述横梁固定连接,所述若 干个支撑柱通过若干个螺栓与所述固定板固定连接,所述固定夹板通过至 少两个螺栓与所述支撑柱固定连接,所述若干个弹簧通过若干个螺栓与所 述固定夹板固定连接,如此使更部件之间通过螺栓固定,可拆卸,结构简 单,安装及组装方便。
优选的,所述横梁和固定板均由铝质材料所构成,使重量大大降低。
与现有技术相比,本实用新型的有益效果在于:
本实用新型气缸触压棒,其固定横梁及固定板均由铝质材质所构成, 大大降低了总体的重量,更便于搬运及安装;各零件之间均用螺栓固定, 组装、拆卸、调节更为方便,当纸幅张力不稳定时,可有效防止纸板对整 机机械振动的影响;压片施于纸板的压载力随纸质、车速的变化而自动调 节,始终保持其对通过的瓦楞纸板施以均匀的压载力;能够满足不同幅度 及不同层数的瓦楞纸板的生产需要;既降低了生产成本,又提高了工作效 率。
下面结合附图和实施例对本实用新型所述的气缸触压棒作进一步说 明。
附图说明
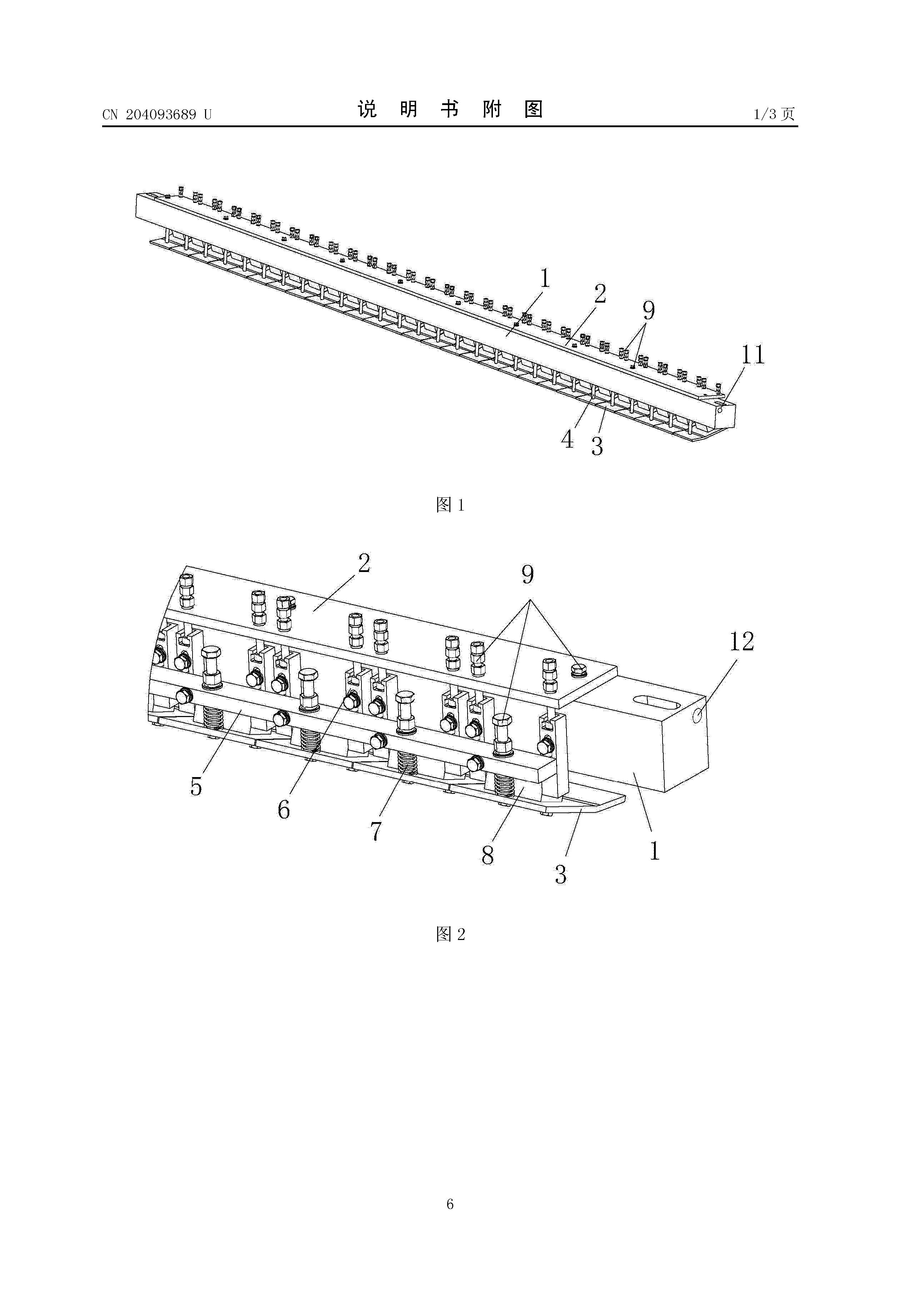
图1是本实用新型所述气缸触压棒的结构示意图;
图2是本实用新型所述的气缸触压棒另一侧局部的结构示意图;
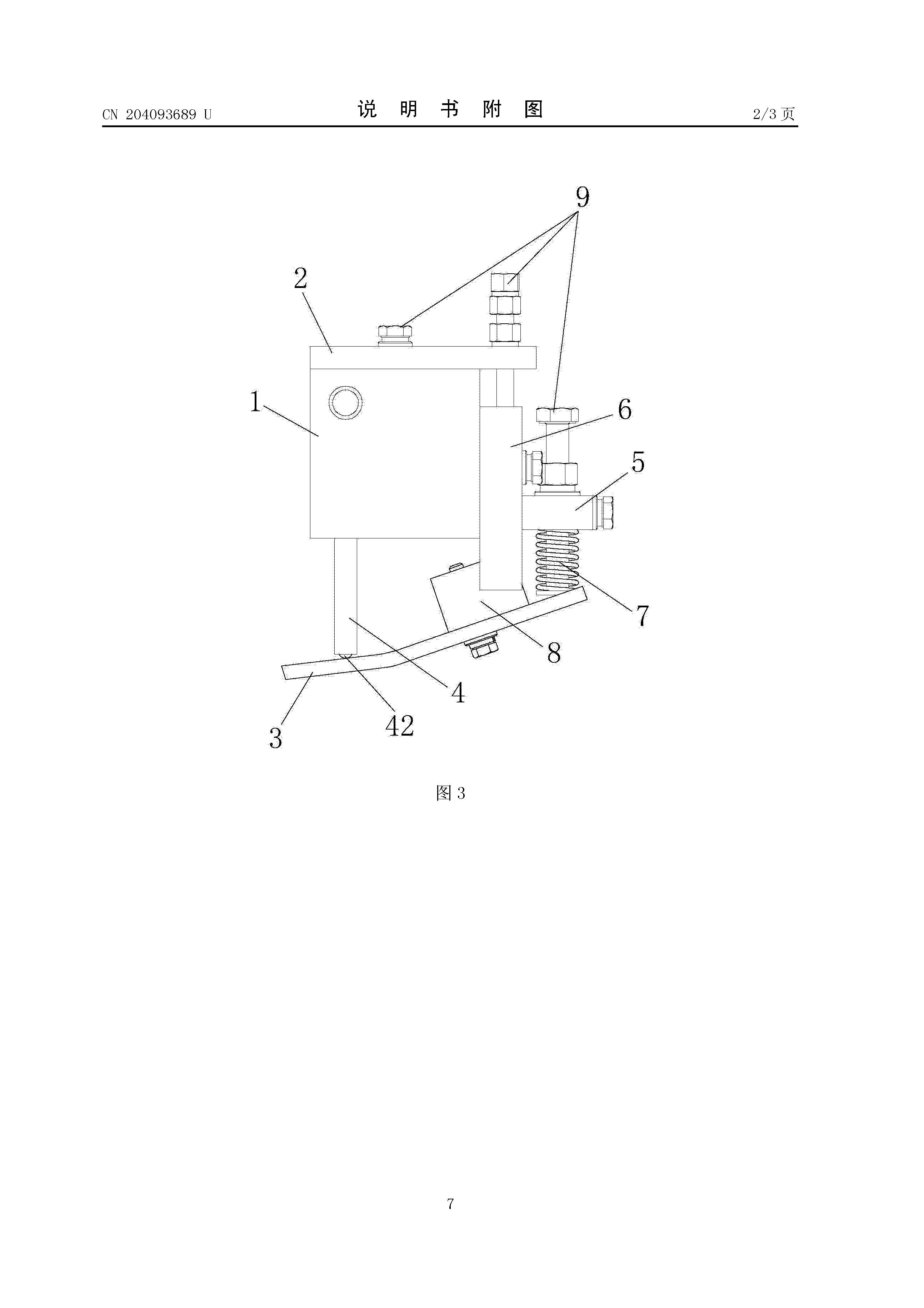
图3是本实用新型所述的气缸触压棒的侧面结构示意图;
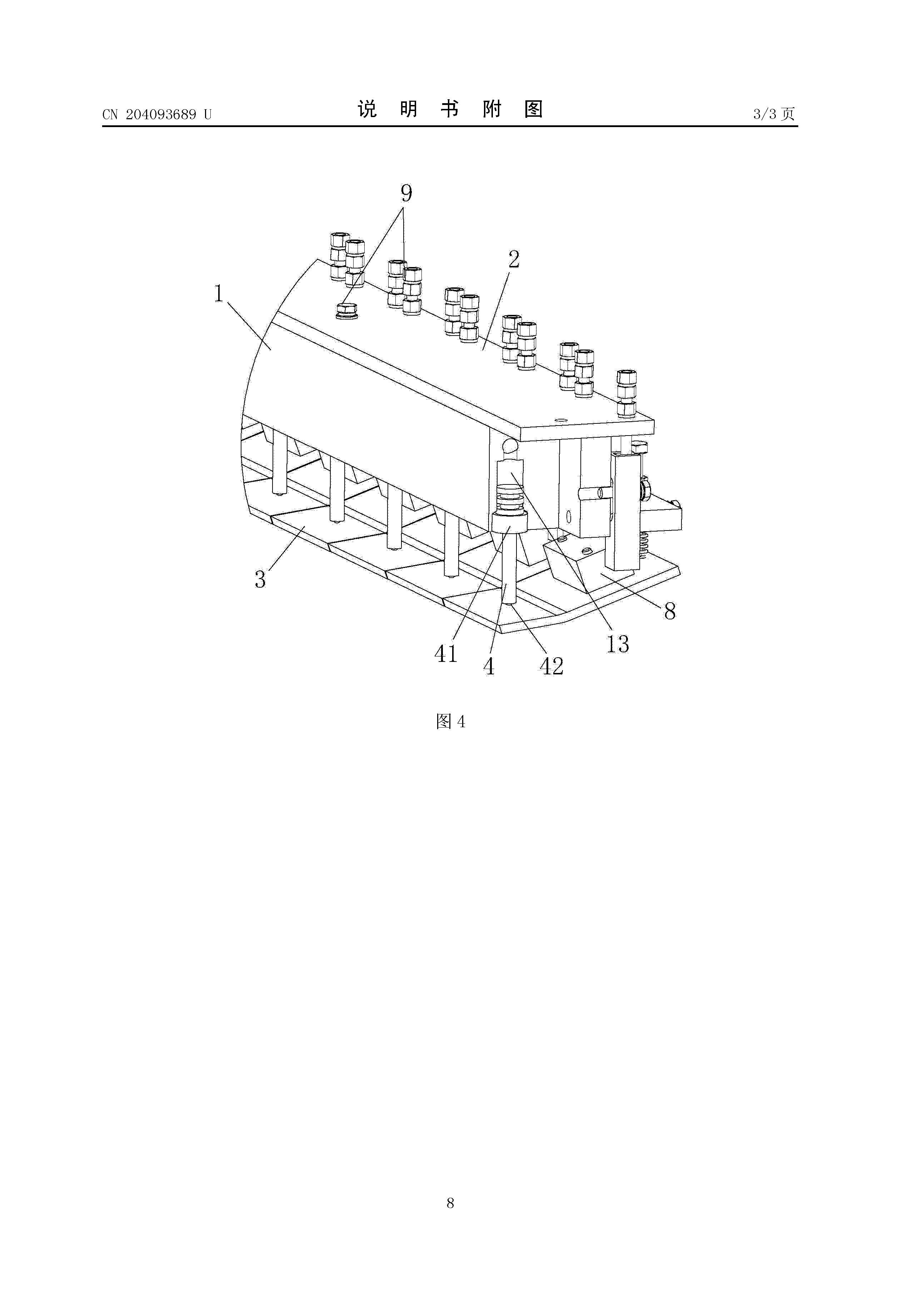
图4是本实用新型所述的气缸触压棒局部剖视的结构示意图。
具体实施方式
以下是本实用新型所述气缸触压棒的最佳实例,并不因此限定本实用 新型的保护范围。
请参考图1~4,提供一种气缸触压棒,包括固定横梁1,装设在该固 定横梁1上的固定板2,固定横梁1的一端设有进气口11,该固定横梁1 的另一端设有出气口12,该进气口11与出气口12相连通,固定横梁1下 部装设有若干个压片3,该压片按纸张幅度的不同,可适当增加或减少, 每一压片3的一端均装设有气缸杆4,该气缸杆4与压片3传动连接,在 固定横梁1上分别设有与各气缸杆4相适应的若干条气缸通气管13,每一 气缸通气管13与进气口11及出气口12相连通,使在固定横梁1内形成 一道并联式气流通道,气缸杆4插入所述气缸通气管13内使压片3作纵 向运动,还包括一固定夹板5,该固定夹板5通过装设在固定夹板5一侧的 若干个支撑柱6与所述固定板2连接。该气缸触压棒以气为工作能源,即 环保又节能,在使用时,气体从进气孔11进入到固定横梁1内的气流通 道中,这时,出气孔12须用堵头堵住,防止其漏气,然后气体均匀流入 到各气缸通气管中,使气体能够均匀施加压力到各个气缸杆4,从而均匀 推动压片3下压,也可按瓦楞纸板厚度及车速自动调节压力,保证其上胶 均匀及倒楞不被压扁。能够满足不同幅度及不同层数的瓦楞纸板的生产需 要,并按要求设计,另外,可对局部因压力不够及上胶不均匀而产生的不 良品进行控制;连接简单快捷,张力及压力平整,降低了瓦楞纸板张力不 平对机械的振动;既降低了人工及生成成本,又提高了工作效率。
请参考图2和图3,作为优选的,所述压片3的另一端装设有弹簧7, 该弹簧7的一端与压片3传动连接,弹簧7的另一端与所述固定夹板5固 定连接,该压片3通过装设在压片3上的压片连接块8与所述支撑柱6旋 转连接。弹簧7能使压片3具有一定的支撑力,当压片3下压时则带有缓 冲弹力,当压片3复位时既能自动弹性复位,使每块压片3都具备了自动 升降功能。
请参考图4,作为优选的,气缸杆4的一端设有凸出螺纹,该气缸杆 4上套设有一防止气缸杆4在所述气缸通气管13内运动时脱离固定横梁1 的螺母41,所述螺母41与固定横梁1内的气缸通气管13固定连接,如此 能够使气缸杆4固定于固定横梁1内运动,通气时,气缸杆4的运动对整 机机械振动力大为减少。
在本实施中,气缸杆4的另一端装设有一圆珠42,使气缸杆4与压片 3之间具有了缓冲及耐磨的效果。
在本实施中,所述固定板2通过至少两个螺栓9与所述横梁1固定连 接,所述若干个支撑柱6通过若干个螺栓9与所述固定板2固定连接,所 述固定夹板5通过至少两个螺栓9与所述支撑柱6固定连接,所述若干个 弹簧7通过若干个螺栓9与所述固定夹板5固定连接。如此将配件之间用 螺栓固定,可拆卸,各零件之间相辅相成,共同完成气缸触压棒整机运动, 其结构简单,安装及组装更为方便,另外,当纸幅张力不稳定时,也可有 效防止纸板对整机机械振动的影响。
作为优选的,所述横梁1和固定板2均由铝质材料所构成。重量轻, 方便组装及搬运,压片表面喷涂有碳化钨,耐磨,其它材质均为不锈钢。
综上所述,本实用新型的气缸触压棒分别由若干块可拆卸的单元连接 而成,其零件与零件之间用螺栓固定,可拆卸。以固定横梁为主,其它零 件与固定横梁固定连接,有效防止气缸杆运动过程中,对整机机械振动的 影响。各气缸杆施压于压片压载力均匀,压片可随车速及纸板厚度自动调 节压载力。瓦楞纸板通过气缸触压棒,压载力使其上胶均匀,同时确保倒 楞不被压扁。有效提高了瓦楞纸的生产质量,能够满足不同幅度及不同层 数的瓦楞纸板的生产需要,提高了工作效率,降低了生成成本。
上述实施例为本实用新型较佳的实施方式,但本实用新型的实施方式 并不受上述实施例的限制,其他的任何未背离本实用新型的精神实质与原 理下所作的改变、修饰、替代、组合、简化,均应为等效的置换方式,都 包含在本实用新型的保护范围之内。
|
![]() |
![]() |
![]() |











